0121n Konisches Wirbelventil, nasse Aufstellung UFT-FluidCon

Verwendungszweck

Die Wirbelventile sind Abkömmlinge der Familie der FLUIDIC (FLUID flow logIC). Das sind Ventile, die ohne bewegliche Teile ausschließlich mit Strömungseffekten arbeiten.

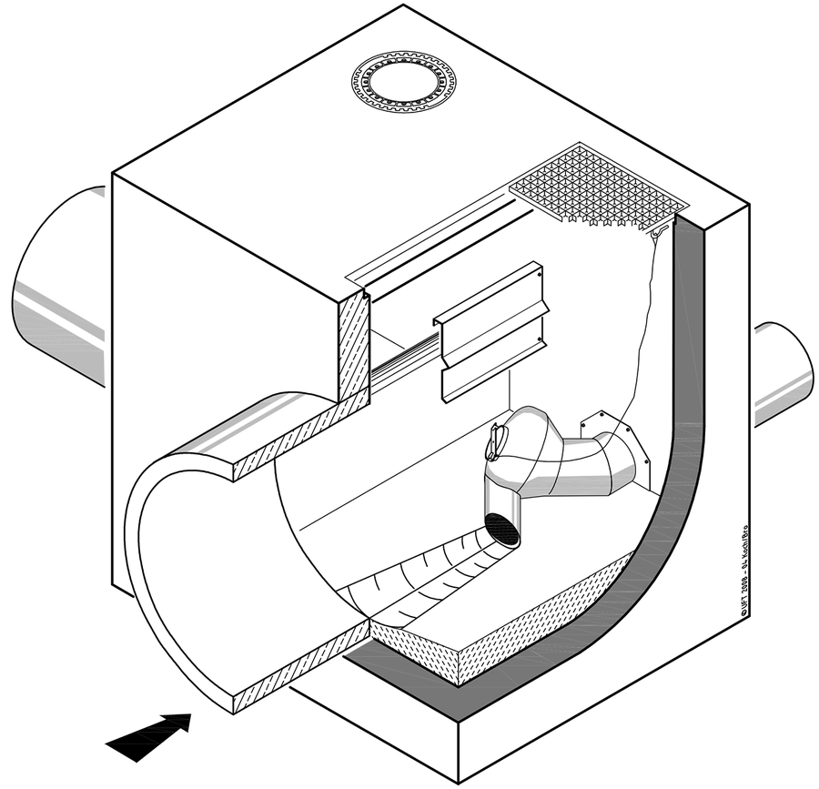
Wirbelventile in nasser Aufstellung Bauart UFT-FluidCon vom Typ SUn sind für den Einsatz im Abwasserkanal konzipiert. Sie finden Verwendung als Regulierorgane am Auslauf von Regenüberläufen, Regenüberlaufbecken, Stauraumkanälen und Regenrückhaltebecken.

Wirbelventile sind eine Basisinnovation unseres Hauses für die Steuerung schwierig zu handhabender Flüssigkeitsströme. Wir können inzwischen weltweit auf gut 4 000 installierte Einheiten zurückblicken. Dass bis heute kein einziges Gerät versagt hat, unterstreicht die außerordentliche Zuverlässigkeit des Systems und der FLUIDIC-Technologie.

Im Gegensatz zu den Wirbelventilen in trockener Aufstellung ist für die Wirbelventile in nasser Aufstellung kein separater Drosselschacht erforderlich. Das Wirbelventil wird zum Beispiel am Ende eines Stauraumkanals direkt vor die weiterführende Leitung gedübelt.

Vorteile des Wirbelventils UFT-FluidCon

Das Wirbelventil ist eine selbsttätige Vorrichtung zur Abflusssteuerung. Die Steuerwirkung wird alleine durch verschleißfreie und nicht alternde Strömungseffekte hervorgerufen. Die treibende Kraft für die Strömungseffekte ist die Druckdifferenz zwischen Ventilein- und -ausgang.

Die Vorteile des nass aufgestellten Wirbelventils UFT-FluidCon sind:

  • keine mechanisch bewegten Teile
  • kein Verschleiß
  • keine Hilfsenergie notwendig
  • große, freie Durchgangsquerschnitte
  • hohe Betriebssicherheit
  • kein separater Drosselschacht erforderlich
  • korrosionsfreie Konstruktion
  • hochgenaue Abflussdrosselung
  • wenig Rückstau nach Oberwasser
  • geringer Höhenverbrauch
  • einfache Änderung des Abflusses
  • einfache und schnelle Montage
  • keine Einregulierung notwendig
  • einfache Handhabung und Kontrolle